全國服務熱線:
400-816-1636
菜單

掃一掃關注公眾號

四分量凈全輻射由天空(包括太陽和大氣)向下投射的和由地表(包括土壤、植物、水面)向上投射的全波段輻射量之差。TBB-2系列凈全輻射表是市場優秀的四分量凈輻射傳感器。它使用2個朝上和2個朝下的輻射傳感器,可同時測量太陽的短波輻射、長波輻射、短波反射輻射、長波反射輻射、短波反射率、長波反射率以及凈全輻射等多個輻射值。因其測量精度高、模塊化設計、無源工作模式、性價比高等優點而廣受歡迎。主要用于科學能量平衡和表面通量研究,是科研領域的理想儀器。同時在氣象、光伏、園藝、農業和工業等領域也得到了廣泛的使用。
TBB-2系列凈全輻射表由兩個短波輻射表和兩個長波輻射表組成。短波輻射表由石英罩、感應元件、表體等部件組成。長波輻射表由硅制弧形濾光罩、感應元件,鉑電阻、表體等部件組成。感應元件由繞線電鍍式多結點熱電堆組成,感應面涂有進口高吸收無光黑色涂層,黑色涂層吸收輻射能,使熱電堆兩端產生溫度差,并輸出溫差電動勢,與接收的輻射強度成正比。每個長波輻射表的腔體內將一鉑電阻嵌入熱電堆邊緣冷結點處,作為溫度補償使用。
每只輻射表都分別有各自的靈敏度系數和輸出導線,可單獨輸出各個數據,同時通過各自的輸出數據進行組合,分別能測量短波輻射、短波反射輻射、長波輻射、長波反射輻射、全波輻射、凈全輻射、短波反射率和長波反射率。
凈全輻射為正表示地表增熱,即地表接收到的輻射大于發射的輻射,凈全輻射為負表示地表損失熱量。

|
名稱
|
參數
|
|
測量要素
|
短波輻射、短波反射輻射、長波輻射、長波反射輻射、全波輻射、短波反射率、長波反射率、凈全輻射
|
|
太陽光譜范圍
|
0.3~3μm(短波)
|
|
3.5~50μm(長波)
|
|
|
靈敏度
|
7~14μV•W-1•m2(短波)
|
|
2~10μV•W-1•m2(長波)
|
|
|
信號輸出
|
輻射表:0~20mv
|
|
補償溫度:85~138.5Ω
|
|
|
年穩定性
|
≤±2%
|
|
非線性
|
≤4%
|
|
測量精度
|
≤±5%
|
|
測量范圍
|
-2000W~2000W
|
|
補償溫度
|
Pt100
|
|
工作濕度
|
0%~100%RH
|
|
工作溫度
|
-40至80°C
|
|
響應時間
|
≤30S
|
|
調平方式
|
2軸水平儀組件
|
|
重量
|
3kg
|

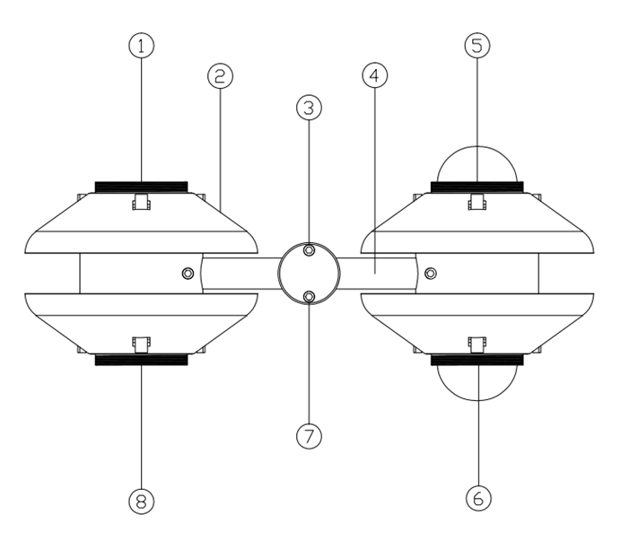
(1)朝上長波輻射表,(2)遮陽板,(3,4,7)用于x軸和y軸的調平組件,(5)朝上短波輻射表,(6)朝下短波輻射表,(8)朝下長波輻射表
1、輻射表內部增加了溫度補償裝置,保證測量精度的精準性;
2、性價比高,性能穩定;
3、重量輕,一體化結構設計,安裝成本低;
4、模塊化設計,易于維護;
5、同時測量多個輻射要素;
6、無源工作模式,可隨時隨地測量;
7、符合WMO世界氣象組織規范(CIMO Guide);
8、凈全輻射表表面靜電噴塑,其防腐蝕能力極強,.適用于各種惡劣環境。
四分量凈輻射傳感器可廣泛應用于氣象、農林業、建筑科學、道路安全等領域的蒸騰計算、熱應力和熱平衡的研究、高速公路狀態監測等領域。

